MASTERS GROUP ™



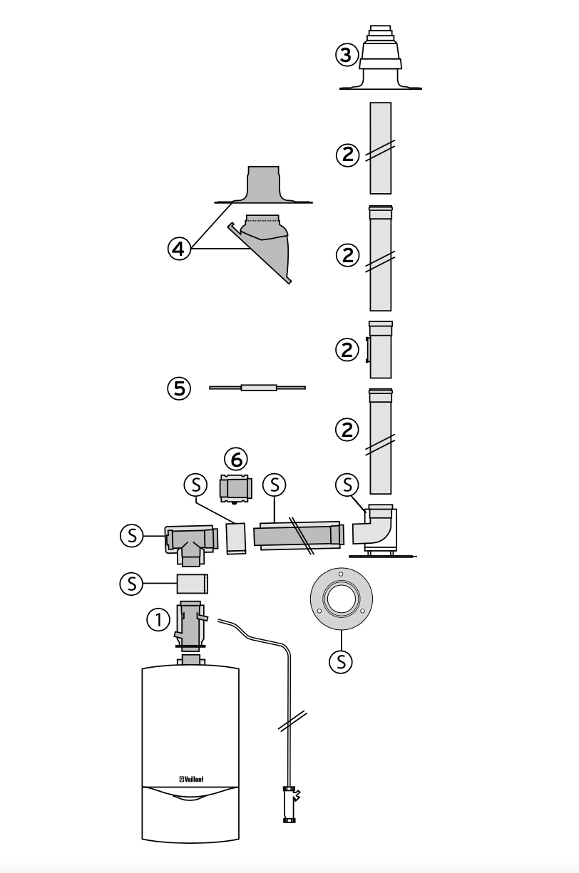
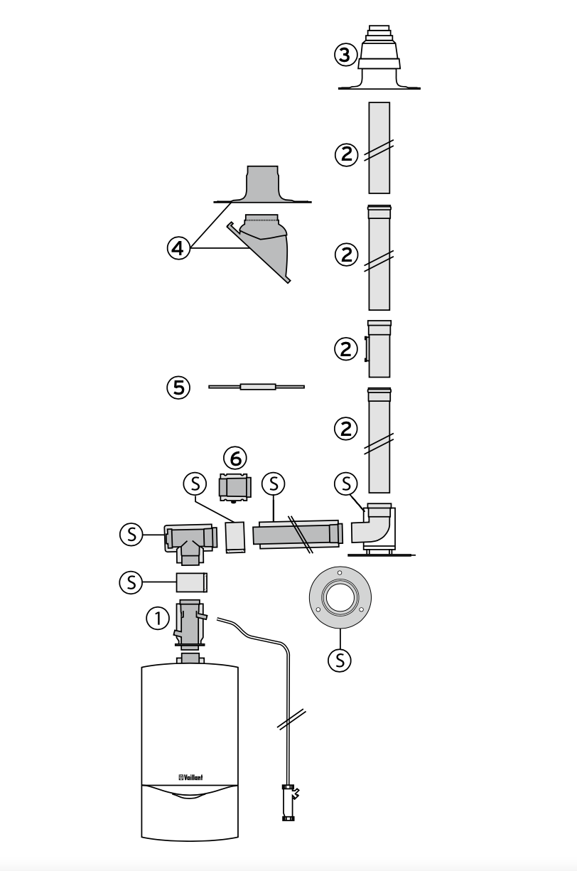
Данная иллюстрация приведена только в качестве примера. При проектировании необходимо соблюдать рекомендации, приведенные в технической литературе Vaillant, а также соответствующие местные требования и предписания.
Тип аппарата | Максимально возможная эквивалентная длина труб, Lэкв., [м] |
VU 122/5-5 | 13,4 (макс. 12,0 м в шахте) |
VU 202/5-5, VUW 202/5-5 | 13,4 (макс. 12,0 м в шахте) |
VU 242/5-5, VUW 242/5-5, VUW 242/5-3 | 13,4 (макс. 12,0 м в шахте) |
VU 282/5-5, VUW 282/5-5 | 10,5 (макс. 10,0 м в шахте) |
VU 322/5-5, VUW 322/5-5 | 10,5 (макс. 10,0 м в шахте) |
VU 362/5-5, VUW 362/5-5 | 10,5 (макс. 10,0 м в шахте) |
ВНИМАНИЕ: По причине присоединительного размера система возду- ховодов/дымоходов не выводится на стену сзади тепло- генератора.
ВНИМАНИЕ: Дополнительные изменения направления системы дымохода/воздуховода уменьшают указанную максимальную эквивалентную длину труб Lэкв:
– адаптер для перехода с 60/100 на 80/125 снижает длину трубы — на 3 м
– каждый отвод под углом 87° на 2,5 м
– каждый отвод под углом 45° на 1,0 м
Сечение шахты, не менее, чем:
круглое, 130 мм, квадрат, 120х120 мм
Наименование | арт. | ||
S | Базовый комплект 80/125 мм с опорным уголком | 303615 | Выбрать |
1 | Переходник с 60/100 на 80/125 мм с конденсатоотводчиком | 0020202465 | Выбрать |
2 | Удлинительная труба Dn 80 мм 0,5 м (цвет: белый) | 300833 | Выбрать |
2 | Удлинительная труба Dn 80 мм 1,0 м (цвет: белый) | 300817 | Выбрать |
2 | Удлинительная труба Dn 80 мм 2,0 м (цвет: белый) | 300832 | Выбрать |
2 | Удлинительная труба Dn 80 мм 0,35 м с ревизией | 303092 | Выбрать |
3 | Оголовок шахты для трубы Dn 80 мм полипропилен | 303963 | Выбрать |
3 | Оголовок шахты для трубы Dn 80 мм алюминий | 303261 | Выбрать |
4 | Элемент из пластмассы для пересечения косой крыши, чёрный | 009076 | Выбрать |
4 | Элемент из пластмассы для пересечения косой крыши, красный | 300850 | Выбрать |
4 | или манжета (алюминий) для оформления пересечения плоской крыши | 009056 | Выбрать |
5 | Распорка для крепления трубы Dn 80 мм в шахте (7 шт.) | 009494 | Выбрать |
6 | Удлинительная труба 80/125 мм (алюминий) 0,5 м | 303602 | Выбрать |
6 | Удлинительная труба 80/125 мм (алюминий) 1,0 м | 303603 | Выбрать |
6 | Удлинительная труба 80/125 мм (алюминий) 2,0 м | 303605 | Выбрать |
Вы решили обновить систему отопления в своем доме и выбрали надежный и качественный котел Vaillant turboTEC. Однако, возникает вопрос о выборе дымохода: вертикального или горизонтального через крышу. В нашем интернет-магазине мы предлагаем широкий выбор дымоходов для Vaillant turboTEC, чтобы удовлетворить все ваши потребности.
Вертикальный дымоход - это наиболее традиционный вариант, который выводит выбросы от горения воздуха и газов вверх через крышу. Он обеспечивает надежную тягу, что является основополагающим фактором для безопасной работы и эффективности котла. Вертикальный дымоход также обеспечивает оптимальное удаление продуктов сгорания, минимизируя риск образования сажи и повреждения котла. Кроме того, он может быть использован в любом типе здания, в том числе и в многоэтажных домах.
С другой стороны, горизонтальный дымоход через крышу может быть более удобным и экономически целесообразным решением. Он позволяет установить дымоход ниже кровли, что значительно упрощает его техническое обслуживание и очистку. Горизонтальный дымоход также может быть более привлекательным визуально, так как его видимость наружу минимальна.
При выборе вертикального или горизонтального дымохода для Vaillant turboTEC важно учитывать особенности вашего дома, местные строительные нормы и технические требования производителя. Наши специалисты с большим опытом в области отопления и вентиляции готовы помочь вам с выбором наиболее подходящего варианта.
Мы предлагаем широкий ассортимент вертикальных и горизонтальных дымоходов для Vaillant turboTEC в различных размерах и конфигурациях. Все наши продукты прошли необходимую сертификацию и соответствуют высоким стандартам качества. Мы также предоставляем гарантию на все наши товары, чтобы обеспечить вам спокойствие и уверенность в вашей покупке.
Не упускайте возможность обновить вашу систему отопления с помощью надежного и эффективного котла Vaillant turboTEC и подходящего дымохода. Посетите наш интернет-магазин и сделайте заказ прямо сейчас. Наша команда всегда готова помочь вам с выбором и ответить на все ваши вопросы.
Мы используем файлы cookie и аналогичные технологии для улучшения вашего опыта на нашем веб-сайте. Прочтите нашу Политику конфиденциальности.