MASTERS GROUP ™



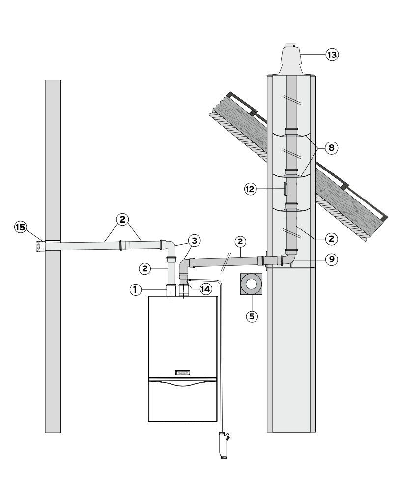
Данная иллюстрация приведена только в качестве примера. При проектировании необходимо соблюдать рекомендации, приведенные в технической литературе Vaillant, а также соответствующие местные требования и предписания.
Тип аппарата | Максимально возможная эквивалентная длина труб, Lэкв., [м] |
turboFIT VUW 242/5-2 | 30,0 м, из них максимально 27,0 м в шахте, без дроссельной шайбы 39 мм |
ВНИМАНИЕ: С каждым дополнительным отводом длина трубы уменьшается следующим образом:
– Каждый отвод 45° — на 1,25 м
– Каждый отвод 90° — на 2,5 м
При монтаже следующих компонентов длина трубы уменьшается:
– Принадлежности для слива конденсата — на 2,0 м
– Адаптер 80/80 мм — на 4,0 м
– Защита от ветра — на 2,5 м
Дроссельная шайба встроена на заводе, снимите для большей длины трубы отходящих газов.
Наименование | арт. | ||
1 | Разделительный адаптер Dn 80/80 | 0020199372 | Выбрать |
2 | Удлинительная труба Dn 80 мм 0,5 м (цвет: белый) | 300833 | Выбрать |
2 | Удлинительная труба Dn 80 мм 1,0 м (цвет: белый) | 300817 | Выбрать |
2 | Удлинительная труба Dn 80 мм 2,0 м (цвет: белый) | 300832 | Выбрать |
2 | Удлинительная труба Dn 80 мм 0,35 м с ревизией | 303092 | Выбрать |
3 | Отвод 90° (цвет: белый) | 300818 | Выбрать |
3 | Отвод 90° с отверстием для проведения измерений | 0020188792 | Выбрать |
5 | Декоративная манжета Dn 80 мм | 009477 | Выбрать |
5 | Хомуты для крепления труб Dn 80 мм (5 шт.) | 300940 | Выбрать |
8 | Распорка для крепления трубы Dn 80 мм в шахте (7 шт.) | 009494 | Выбрать |
9 | Отвод 90° Dn 80 мм с опорной консолью | 009495 | Выбрать |
9 | Соединительная муфта Dn 80 мм | 303093 | Выбрать |
12 | Труба с ревизией Dn 80 мм; 0,35 м | 303092 | Выбрать |
13 | Оголовок шахты для трубы Dn 80 мм, полипропилен | 303963 | Выбрать |
13 | Оголовок шахты для трубы Dn 80 мм, алюминий | 303261 | Выбрать |
14 | Конденсатоотводчик тракта дымохода Dn 80 мм | 303091 | Выбрать |
15 | Устройство защиты от ветра Dn 80 мм | 300941 | Выбрать |
Если вы владелец отопительной системы Vaillant turboFIT и хотите обновить или заменить свой дымоход, то мы рады предложить вам возможность приобрести раздельный дымоход 80/80 в нашем интернет-магазине.
Раздельный дымоход является неотъемлемой частью отопительной системы и необходим для эффективного вывода продуктов сгорания. Высокое качество материалов и современный дизайн делают этот дымоход идеальным выбором для вашей системы.
Наш интернет-магазин гарантирует высокое качество продукции и предлагает широкий ассортимент раздельных дымоходов различных размеров и конфигураций. Для системы Vaillant turboFIT мы рекомендуем размер 80/80, так как он идеально подходит для данной модели отопительной системы.
Заказ раздельного дымохода в нашем интернет-магазине – это простой и удобный процесс. Вам необходимо выбрать подходящий размер и добавить товар в корзину. Затем, следуя инструкциям на сайте, оформить заказ и выбрать удобный способ доставки.
Приобретая раздельный дымоход в нашем интернет-магазине, вы можете быть уверены в его качестве и надежности. Мы работаем только с проверенными производителями и предлагаем только сертифицированную продукцию.
Не откладывайте обновление вашей отопительной системы на потом. Покупайте раздельный дымоход 80/80 для Vaillant turboFIT в нашем интернет-магазине уже сегодня, чтобы обеспечить надежную и эффективную работу вашей системы отопления.
Мы используем файлы cookie и аналогичные технологии для улучшения вашего опыта на нашем веб-сайте. Прочтите нашу Политику конфиденциальности.