MASTERS GROUP ™



В точке подключения трубы дымохода к шахте необходимо обеспечить разряжение не более чем 20 Па во всех режимах котла.
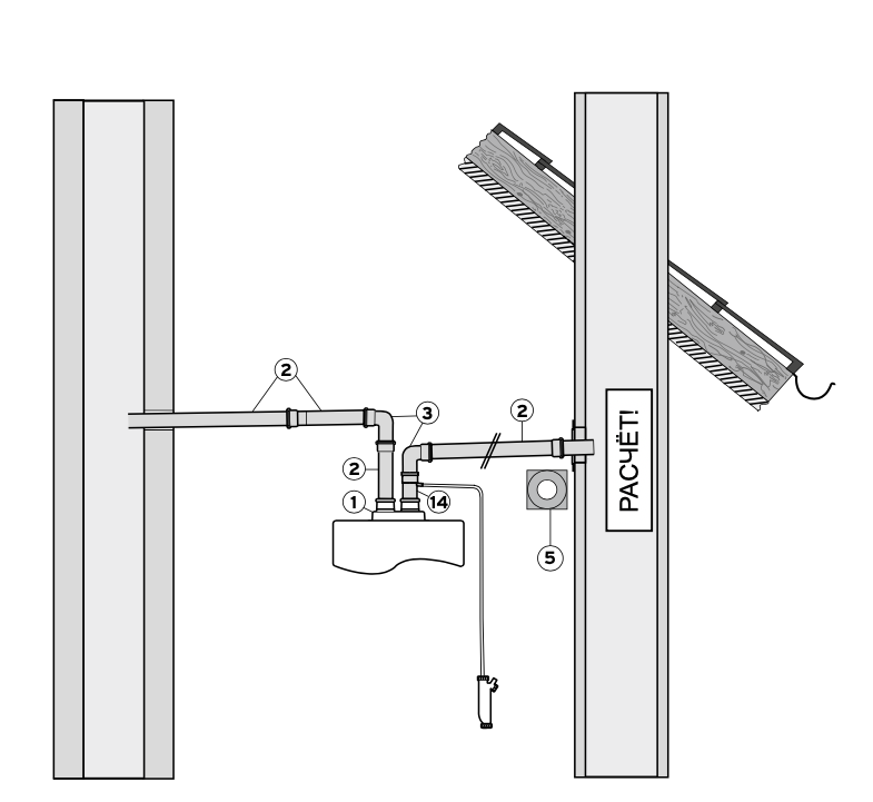
Данная иллюстрация приведена только в качестве примера. При проектировании необходимо соблюдать рекомендации, приведенные в технической литературе Vaillant, а также соответствующие местные требования и предписания.
Тип аппарата | Максимально возможная эквивалентная длина труб, Lэкв., [м] |
VU 122/5-5 | 33,0 воздуховод + дымоход |
VU 202/5-5, VUW 202/5-5 | 33,0 воздуховод + дымоход |
VU 242/5-5, VUW 242/5-5, VUW 242/5-3 | 33,0 воздуховод + дымоход |
VU 282/5-5, VUW 282/5-5 | 20,0 воздуховод + дымоход |
VU 322/5-5, VUW 322/5-5 | 20,0 воздуховод + дымоход |
VU 362/5-5, VUW 362/5-5 | 20,0 воздуховод + дымоход |
ВНИМАНИЕ: При монтаже следующих компонентов длина трубы уменьшается:
– Адаптер 80/80 мм — на 4,0 м
– Принадлежности для слива конденсата — на 2,0 м
– Защита от ветра — на 2,5 м
С каждым отводом длина трубы уменьшается следующим образом:
– Каждый отвод 45° — на 1,25 м
– Каждый отвод 90° — на 2,5 м
При низкой температуре наружного воздуха может образоваться конденсат на внешней поверхности трубы. В этих случаях наружная поверхность трубы должна быть изолирована.
Наименование | арт. | ||
1 | Разделительный адаптер Dn 80/80 | 0020199372 | Выбрать |
1 | Пластина-адаптер (только для turboFIT) | 0020257950 | Выбрать |
2 | Удлинительная труба Dn 80 мм 0,5 м (цвет: белый) | 300833 | Выбрать |
2 | Удлинительная труба Dn 80 мм 1,0 м (цвет: белый) | 300817 | Выбрать |
2 | Удлинительная труба Dn 80 мм 2,0 м (цвет: белый) | 300832 | Выбрать |
2 | Удлинительная труба Dn 80 мм 0,35 м с ревизией | 303092 | Выбрать |
3 | Отвод 90° (цвет: белый) | 300818 | Выбрать |
3 | Отвод 90° с отверстием для проведения измерений | 0020188792 | Выбрать |
5 | Декоративная манжета Dn 80 мм | 009477 | Выбрать |
6 | Хомуты для крепления труб Dn 80 мм (5 шт.) | 300940 | Выбрать |
8 | Распорка для крепления трубы Dn 80 мм в шахте (7 шт.) | 009494 | Выбрать |
9 | Отвод 90° Dn 80 мм с опорной консолью | 009495 | Выбрать |
11 | Соединительная муфта Dn 80 мм | 303093 | Выбрать |
12 | Труба с ревизией Dn 80 мм; 0,35 м | 303092 | Выбрать |
13 | Оголовок шахты для трубы Dn 80 мм, полипропилен | 303963 | Выбрать |
13 | Оголовок шахты для трубы Dn 80 мм, алюминий | 303261 | Выбрать |
14 | Конденсатоотводчик тракта дымохода Dn 80 мм | 303091 | Выбрать |
сли вы владеете газовым котлом Vaillant turboTEC и ищете раздельный дымоход 80/80, то вы обратились по адресу! В нашем интернет-магазине вы сможете приобрести именно то, что вам нужно, и быть уверенными в его качестве.
Правильная работа дымохода является основой для эффективной работы вашего газового котла. Раздельный дымоход 80/80 - идеальное решение для системы отопления с котлом Vaillant turboTEC, так как он специально разработан для обеспечения оптимального вывода продуктов сгорания.
У нас вы найдете раздельный дымоход 80/80 с высокими техническими характеристиками, которые гарантируют долгий срок эксплуатации. Наш товар соответствует всем требованиям и стандартам безопасности, а также пройден сертификацию, что подтверждает его надежность.
Приобретая раздельный дымоход 80/80 для Vaillant turboTEC в нашем интернет-магазине, вы можете быть уверены в его надежности и качестве. Мы предлагаем конкурентные цены и быструю доставку в любую точку страны, а также гарантируем отличное обслуживание и профессиональную помощь при выборе товара.
Не откладывайте замену дымохода на потом, ведь его правильная работа важна для безопасности и эффективности вашей системы отопления. Закажите раздельный дымоход 80/80 для Vaillant turboTEC прямо сейчас и наслаждайтесь комфортным и безопасным отоплением!
Мы используем файлы cookie и аналогичные технологии для улучшения вашего опыта на нашем веб-сайте. Прочтите нашу Политику конфиденциальности.