MASTERS GROUP ™



В точке подключения трубы дымохода к шахте необходимо обеспечить разряжение не более чем 20 Па во всех режимах котла.
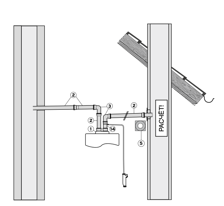
Данная иллюстрация приведена только в качестве примера. При проектировании необходимо соблюдать рекомендации, приведенные в технической литературе Vaillant, а также соответствующие местные требования и предписания.
Тип аппарата | Максимально возможная эквивалентная длина труб, Lэкв., [м] |
turboFIT VUW 242/5-2 | 30,0 м, из них максимально 27,0 м в шахте, без дроссельной шайбы 39 мм |
ВНИМАНИЕ: С каждым дополнительным отводом длина трубы уменьшается следующим образом:
– Каждый отвод 45° — на 1,25 м
– Каждый отвод 90° — на 2,5 м
При монтаже следующих компонентов длина трубы уменьшается:
– принадлежности для слива конденсата
— на 2,0 м
– Адаптер 80/80 мм — на 4,0 м
– Защита от ветра — на 2,5 м
Дроссельная шайба встроена на заводе, снимите для большей длины трубы отходящих газов.
Наименование | арт. | ||
1 | Адаптер с 60 на 80 мм с забором воздуха из помещения | 303815 | Подробнее |
2 | Удлинительная труба Dn 80 мм 0,5 м (цвет: белый) | 300833 | Подробнее |
2 | Удлинительная труба Dn 80 мм 1,0 м (цвет: белый) | 300817 | Подробнее |
2 | Удлинительная труба Dn 80 мм 2,0 м (цвет: белый) | 300832 | Подробнее |
2 | Удлинительная труба Dn 80 мм 0,35 м с ревизией | 303092 | Подробнее |
3 | Отвод 90° (цвет: белый) | 300818 | Подробнее |
3 | Отвод 90° с отверстием для проведения измерений | 0020188792 | Подробнее |
5 | Декоративная манжета Dn 80 мм | 009477 | |
6 | Хомуты для крепления труб Dn 80 мм (5 шт.) | 300940 | |
8 | Распорка для крепления трубы Dn 80 мм в шахте (7 шт.) | 009494 | |
9 | Отвод 90° Dn 80 мм с опорной консолью | 009495 | Подробнее |
11 | Соединительная муфта Dn 80 мм | 303093 | Подробнее |
12 | Труба с ревизией Dn 80 мм; 0,35 м | 303092 | Подробнее |
13 | Оголовок шахты для трубы Dn 80 мм, полипропилен | 303963 | |
13 | Оголовок шахты для трубы Dn 80 мм, алюминий | 303261 | |
14 | Конденсатоотводчик тракта дымохода Dn 80 мм | 303091 | Подробнее |
Мы рады предложить вам возможность приобрести высококачественный раздельный дымоход 80/80 для Vaillant turboFIT в нашем интернет-магазине.
Vaillant turboFIT – это надежная и современная система отопления, которая требует соответствующего вентиляционного оборудования. Раздельный дымоход 80/80 – идеальное решение для эффективной и безопасной работы данной системы.
Наш интернет-магазин предлагает высококачественный раздельный дымоход 80/80, который полностью соответствует требованиям и характеристикам Vaillant turboFIT. Мы работаем только с проверенными производителями, что гарантирует надежность и долговечность нашей продукции.
Покупка раздельного дымохода 80/80 для Vaillant turboFIT в нашем интернет-магазине имеет ряд преимуществ. Во-первых, вы можете быть уверены в качестве и надежности товара, поскольку мы тщательно проверяем каждый товар перед отправкой. Во-вторых, у нас предложены конкурентные цены, которые позволят вам сэкономить средства при покупке. В-третьих, мы гарантируем быструю доставку в любой регион, чтобы вы могли начать использовать раздельный дымоход для своей системы отопления как можно скорее.
Не упустите возможность приобрести раздельный дымоход 80/80 для Vaillant turboFIT в нашем интернет-магазине по выгодной цене. Заказывайте прямо сейчас и получите качественный товар, который обеспечит эффективную работу вашей системы отопления.
Сделайте правильный выбор и присоединяйтесь к нашим довольным клиентам, которые уже оценили высокое качество нашей продукции. Мы гарантируем вашу полную удовлетворенность покупкой и готовы ответить на все ваши вопросы.
Мы используем файлы cookie и аналогичные технологии для улучшения вашего опыта на нашем веб-сайте. Прочтите нашу Политику конфиденциальности.